



網址:https://ggfw.gdhrss.gov.cn/gdggfw/index.shtml
進入網站后的路徑:社會保險公共服務系統→廣東省統一身份認證平臺→打開手機微信APP點擊右上角掃一掃,通過“粵省事”小程序進行認證、登錄省人社廳網上服務平臺→在左側菜單欄選擇“個人權益記錄(參保證明)查詢打印”→選擇“社會保險參保證明(個人)”或“個人權益記錄查詢打印” →根據提示選擇時間、點擊查詢→選擇需要打印的記錄后系統自動生成PDF版本的參保證明,參保人可自行打印。注意,一般辦事需要提供社保繳費歷史的打印“社會保險參保證明(個人)”即可。詳見下圖:














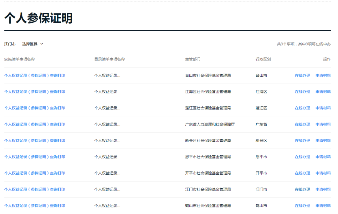
網址:https://www.gdzwfw.gov.cn/
進入網站后的路徑:下拉頁面點擊個人服務中的“社保”板塊→選擇“個人參保證明”→選擇“江門市”→選擇所屬區縣、點擊“在線辦理”→系統自動跳轉到廣東省統一身份認證平臺,參保人通過微信APP的掃一掃功能進行認證,后面的步驟與方法一相同,詳見上文。





參保人通過微信APP的掃一掃功能進行認證,后面的步驟與方法一相同,詳見上文。

登錄“粵省事”小程序后的路徑:下拉進入“社保”模塊→進入江門社保業務大廳→點擊“社保憑證”→選擇“社會保險參保證明查詢”或“個人權益單”→根據提示選擇時間段和填寫QQ郵箱賬號→確認提交后參保證明或個人權益單的電子版(自帶電子章)將發送到指定郵箱。



以上是小編整理的幾個打印社保繳費證明的方法,你掌握了嗎?趕緊跟小伙伴們學起來吧!
相關附件: